Описание
Характеристики
Отзывы
Описание
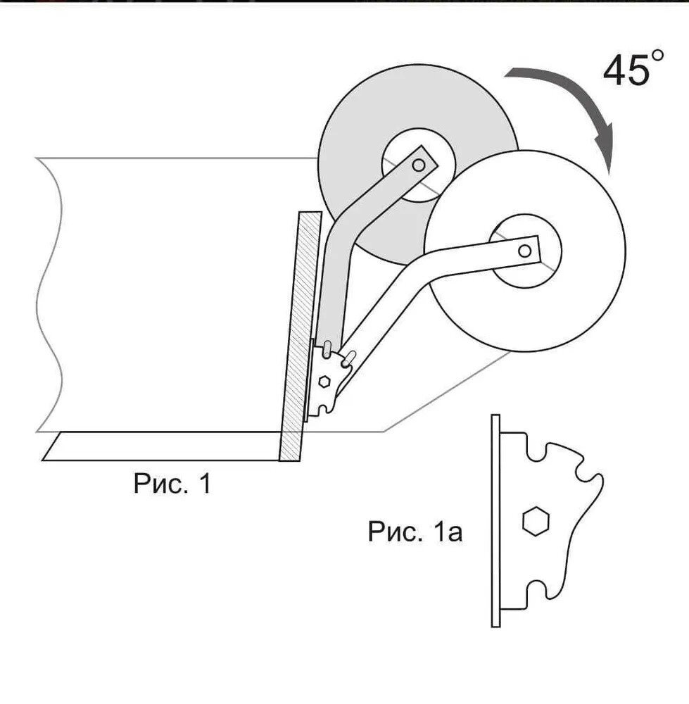
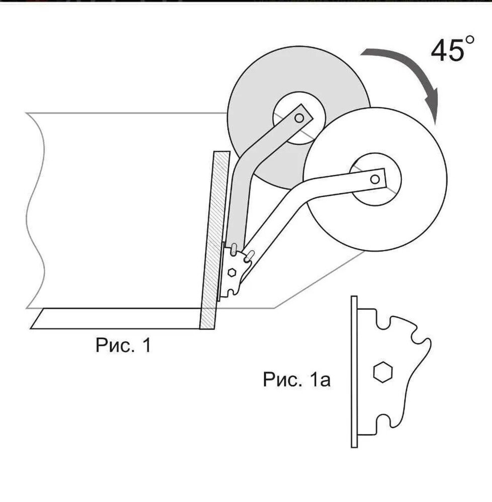
Шасси лодочные стандарт КОМБО Лайт предназначен для пайольных лодок. В верхней части площадок крепления расположены два паза - прямой и под углом 45 градусов. Это делает модель Комбо универсальной - она подойдет для лодок без брызговиков, с брызговиками, а также для лодок с узким транцем, в которых стойки шасси могут мешать манипуляциям с мотором.
Характеристики
Производитель
Колесец
ID варианта
608900
Отзывы
Отзывов еще никто не оставлял
